当前国内疫情继续呈快速发展态势,省内也出现多例新增本土确诊病例,防控形势异常严峻复杂。为确保全市人民群众身体健康,请广大市民严格落实个人防控主体责任和社会责任,严格遵守和执行《四川省应对新型冠状病毒肺炎疫情应急指挥部公告(第18号)》和《阆中市应对新型冠状病毒感染肺炎疫情应急指挥部公告(2021年第8号)》。
市民朋友们
如果近期从南充市外特别是中高风险地区
所在设区市(直辖市为区)来返阆
请全程做好个人防护
并在安全抵达阆中2小时内
及时向本人住地村(社区)报备!
如果是入境来(返)阆
在入境地集中隔离满14天
请在解除集中隔离前2天
及时向本人住地村(社区)报备!
请随时关注个人健康码状态
如果健康码为黄色和红色
请及时向村(社区)、单位、入住酒店报告!
请关注官方信息
如果自查为“密接”和“次密接”者
请及时向本人所在村(社区)报备!
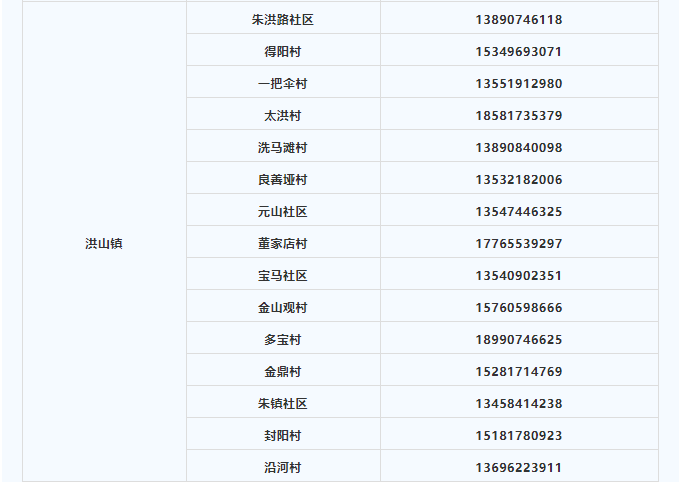
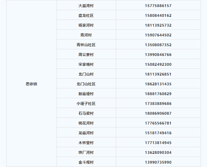
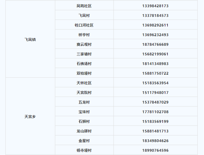
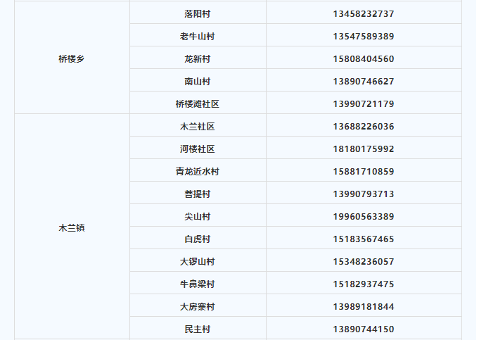
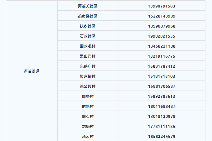
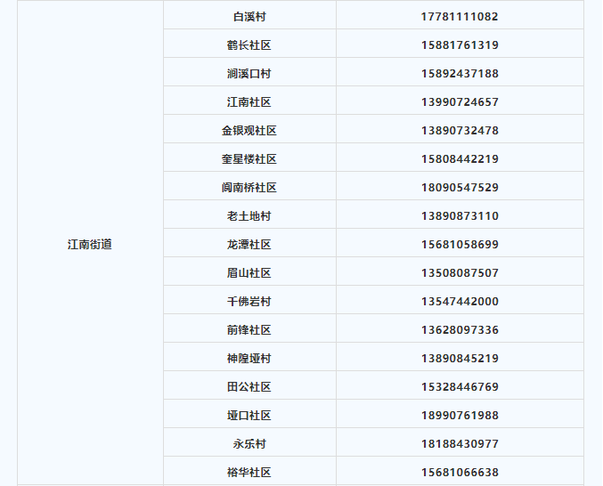
现将阆中市各村(社区)联系方式公布如下
↓↓↓↓
建议收藏
![]()
![]()
![]()
![]()
![]()
![]()
![]()
![]()
![]()
![]()
![]()
![]()
![]()
![]()
![]()
![]()
![]()
来源:阆中市应对新型冠状病毒感染肺炎疫情应急指挥部办公室
评论 0
还没有添加任何评论,快去APP中抢沙发吧!